Patents, Publications and Media |
Patents |
Patent title:
Methods and apparatus to provide remote telepresence communication
Patent date filed: 2024 01 11
Publication number: US20240015263A1
|
 |
Patent description: Methods, apparatus, systems, and articles of manufacture are disclosed to provide remote telepresence communication. At least one non-transitory machine-readable medium comprises instructions that, when executed, cause a processor to identify features from a plurality of images, the plurality of images representing a first user and a second user, create a first representation of the first user, a second representation of the second user, the representations created using the plurality of images, the representations representing the respective users at specified distances and specified perspectives from a viewer, and construct a first image, the first image including the second model at a specified location within a shared environment, the first image to be presented on a first display.
Authors: Santiago E. Alfaro, Ronald Azuma, Joshua Ratcliff
|
|
Patent title:
Apparatus, articles of manufacture, and methods to facilitate generation of variable viewpoint media
Patent date filed: 2022 07 07
Publication number: US20220217322A1
|
 |
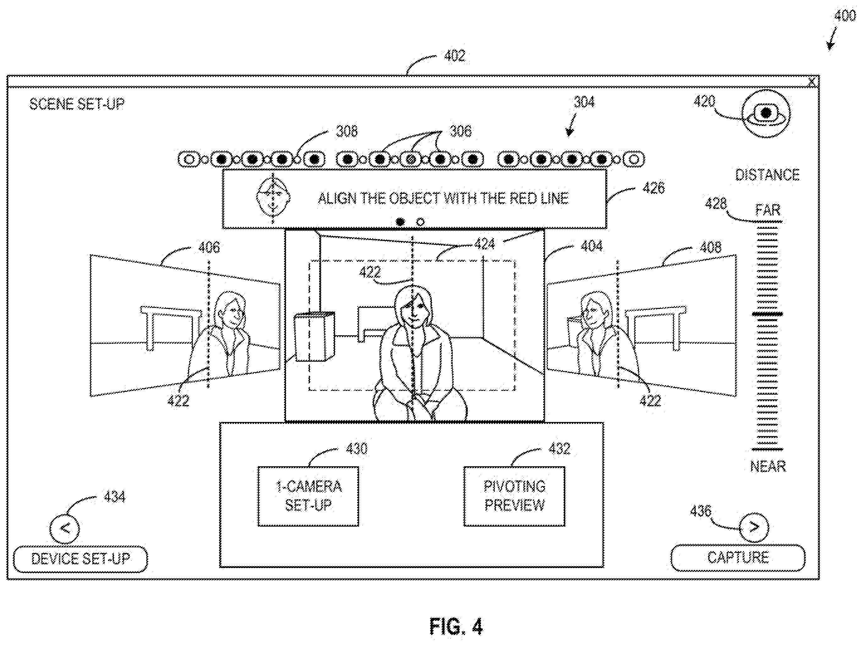
Patent description: A User Interface designed to allow the set up a multi-camera capture system. With a single camera, the user only needs to worry about the distance of the subject to the lens. In a multi-camera set-up, the user needs to understand the location of the subject in a 3D space to center in all cameras simultaneously.
Authors: Santiago E. Alfaro
|
|
Patent title:
Head-mounted displays having curved lens arrays and generating elemental images for displaying
Patent date filed: 2021 13 16
Publication number: US20190086679A1
|
 |
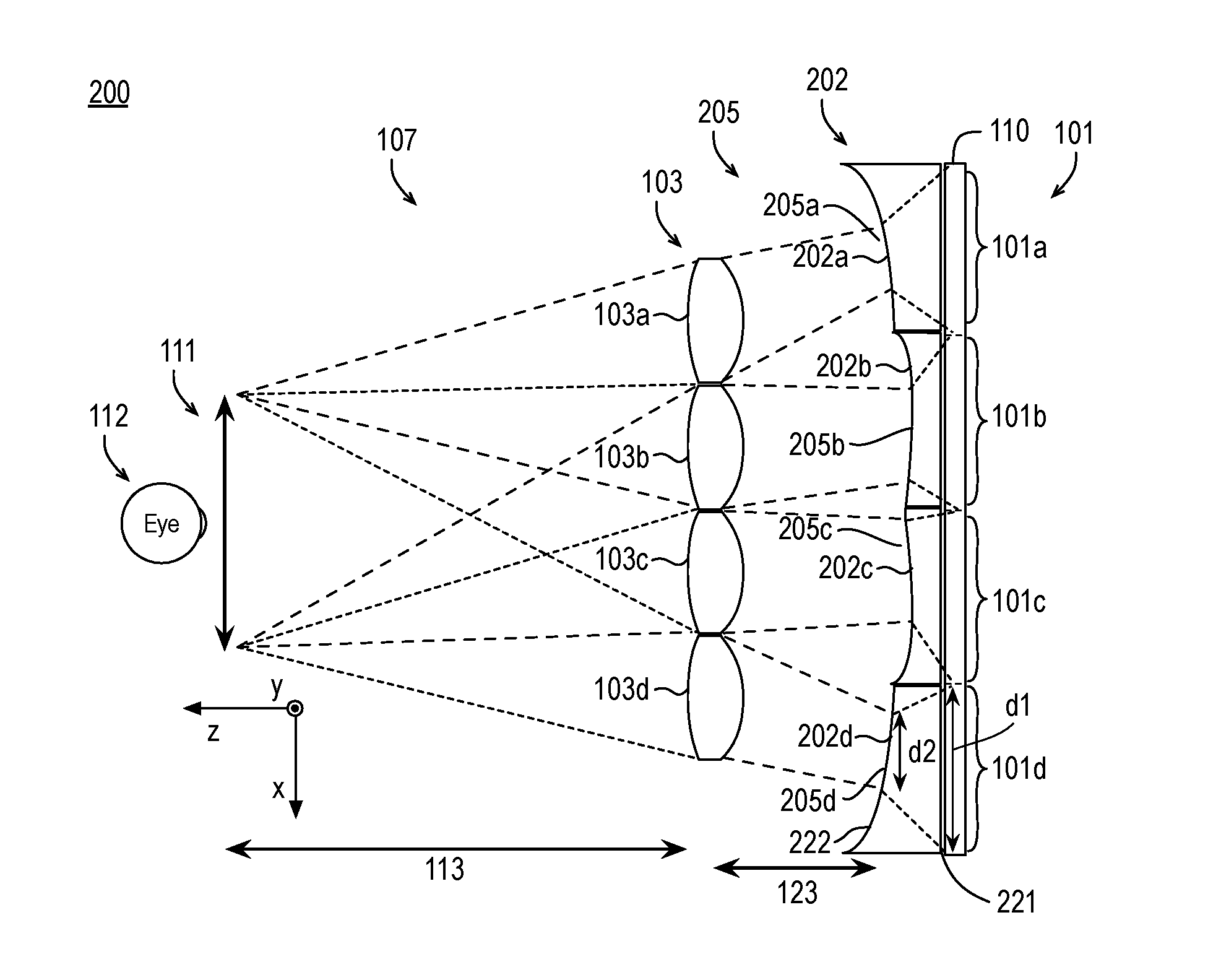
Patent description: An example apparatus for displaying stereo elemental images includes two coupled eyepieces. Each of the two eyepieces also includes a curved screen to display a number of elemental images. Each of the two eyepieces also includes a curved lens array concentrically displaced in front of the curved screen to magnify the elemental images. Each of the number of elemental images is magnified by a different lens in the curved lens array.
Authors: Joshua J. Ratcliff, Alexey M. Supikov, Santiago E. Alfaro, Basel Salahieh
|
|
Patent title:
Enhanced imaging for thin form factor head mounted displays and near light field displays
Patent date filed: 2020 11 03
Publication number: US20190045176A1
|
 |
Patent description: Systems, devices, and techniques related to thin form factor head mounted displays and near light field displays are discussed. Such devices may include a display to present elemental images, a primary lens array in an optical path between the display and a viewing zone of a user, the primary lens array to magnify elemental images to a viewing zone, and a secondary array of optical elements between the display and the primary lens array to concentrate elemental images from the display to the primary lens array.
Authors: Joshua J. Ratcliff, Alexey M. Supikov, Santiago E. Alfaro, Basel Salahieh
|
|
Patent title:
Head-mounted display device
Patent date filed: 2018 07 12
Publication number: US20180199028A1
|
 |
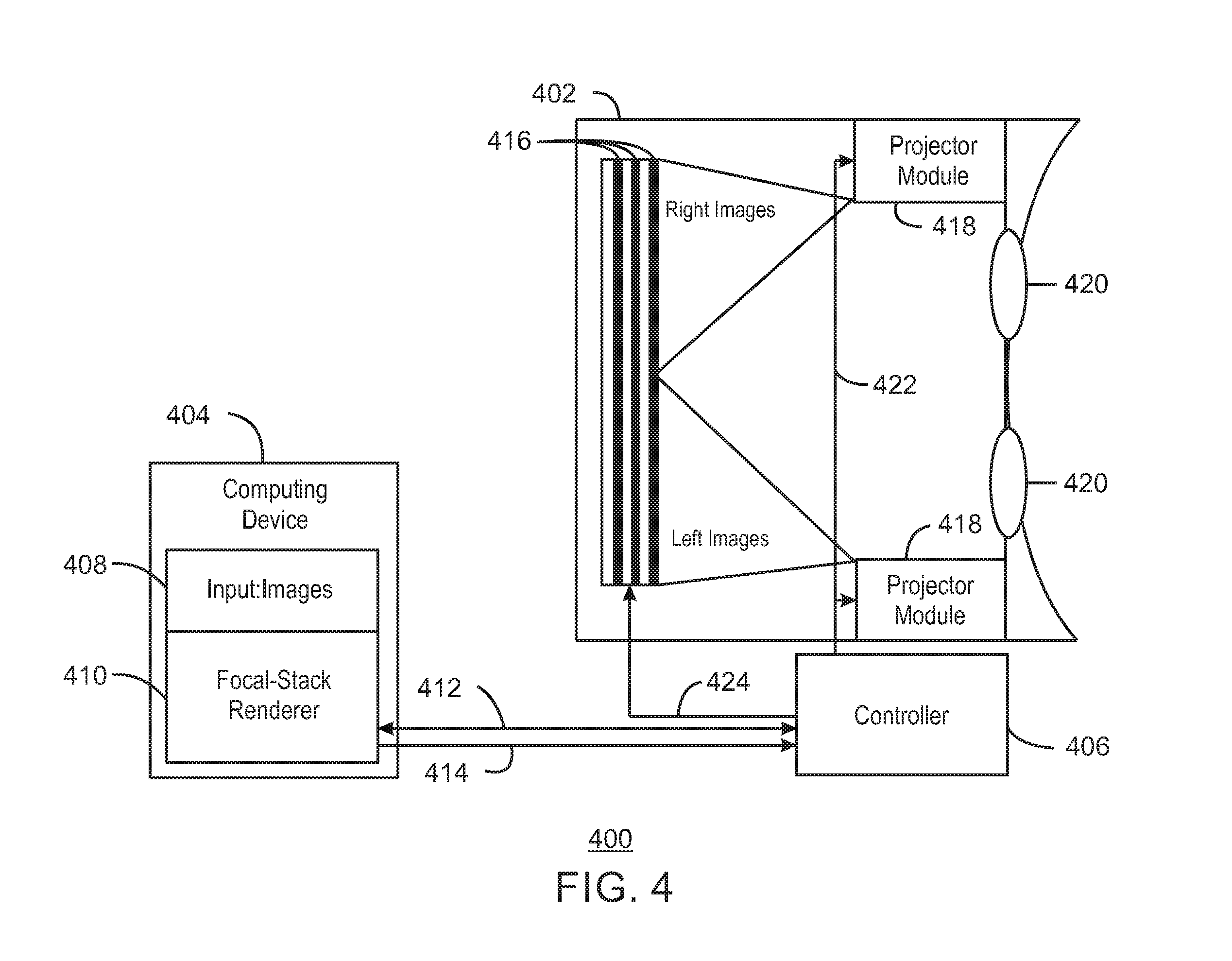
Patent description: In one example, a head-mounted display (HMD) device includes multiple display panels arranged in parallel with each other. Each of the display panels is associated with one of multiple focal lengths. The HMD device includes multiple lenses to view a three-dimensional (3D) scene on the display panels. The HMD device also includes a controller to provide a frame of the 3D scene, viewable at the focal lengths. The frames include focal layers generated at one of the focal lengths. The frames are rendered by displaying the focal layers in a sequence on the display panels associated with the focal length at which the focal layer is generated. The controller also allows visible light to pass through one or more of the display panels based on whether the render planes are between an active focal layer and the lenses.
Authors: Joshua J. Ratcliff, Alexey M. Supikov, Seth E. Hunter, Santiago E. Alfaro
|
|
Patent title:
Methods and apparatus for accessing peripheral content
Patent date filed: 2017 03 21
Publication number: US9597590B2
|
 |
Patent description: In exemplary implementations of this invention, a main content feed is displayed on a main screen. A user may select one or more auxiliary feeds of content to display simultaneously on a second screen. The second screen is located on a handheld device. The user makes the selection by changing the orientation of the handheld device relative to the main screen. For example, the user may select which auxiliary feed to display by pointing the device at different areas that are around the periphery of the main screen. The handheld device includes one or more sensors for gathering data, and one or more processors for (a) processing the sensor data to calculate the orientation of the handheld device relative to the main screen and (b) based at least in part on that orientation, selecting which of the auxiliary feeds to display.
Authors: Victor Michael Bove, Santiago Alfaro, Vincent Lee
|
|
Patent title:
Three dimensional image display
Patent date filed: 2016 12 28
Publication number: US20180184074A1
|
 |
Patent description: In one example, a method for displaying three dimensional images can include generating a three dimensional image. The method can also include detecting a field of view of a user based on a position and orientation of the head of the user. The method can also include separating the three dimensional image into a plurality of frames based on the field of view of the user, wherein each frame corresponds to one of a plurality of display panels. Furthermore, the method can include modifying the plurality of frames based on a depth of each pixel in the three dimensional image. Additionally, the method can include displaying the three dimensional image using the plurality of display panels.
Authors: Seth E. Hunter, Santiago E. Alfaro, Ram C. Nalla, Archie Sharma, Ronald T. Azuma
|
|
Patent title:
Force-sensing net
Patent date granted: 2016 01 12
Publication number: US9233287B2
|
 |
Patent description: In exemplary implementations of this invention, a basketball net or flat net measures the translational kinetic energy of a ball that passes through an aperture in the net or impacts the net. The net includes one or more electrically conductive cords, which have a resistance that varies depending on the degree to which the cord is stretched. From sensor measurements, a processor determines: (a) instantaneous rate of change of resistance, and (b) duration of a time period that begins when resistance exceeds a baseline (with hysteresis). In the case of a basketball net, a processor may calculate the translational kinetic energy of the ball as equal to a sum of two terms. The first term is inversely proportional to the square of the duration; the second is proportional to the square of the integral of the instantaneous rate of change of resistance over the time period.
Authors: Victor Michael Bove, JR.Jared Markowitz, Daniel Novy, Santiago Alfaro
|